2003.5.31. last revised 2022.3.3.
読みやすいように、新字新かなにし、漢字表記など改めています。

§25 恒温槽

A)高温恒温槽

ここでは主として電気炉の温度調節について述べる。熱源としては他にガスがあるが電気の方が調節に便利なのと、均一に加熱し得る利点があるので主としてこれについて述べる。 この中である物はガスの場合にもリレーを変えると適用せられるわけである。

1)電圧調節式

電気炉の温度調節方法として電圧の変動に応じてリレーを働かす方法では室温の変化、即ち炉の外部表面の放熱状態の変化に対しては調節することはできぬが、装置が簡単なのと、室温の変化の小さい場合には随分よい恒温が得 られる。

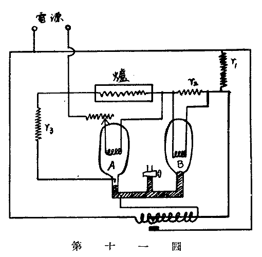
BKGFIG09

その装置の一つに第9図の如きものがある。 炉の電熱線Fを通る電流を二つに分け、その片方の電流が常にHを通ってこの中に入ったトルエンを加熱する様になっている。 このHは水槽(之を恒温槽にして置くとよいが水道の水を通してもよい)に浸っている(直接入れずに油の入った槽に入れ之を水槽に浸す方がよい)。 A1、A2は電流計、r1、r2、r3は抵抗(r2のみは固定抵抗でよし)、Wはネオンランプでパイロット並びに抵抗用として用う。 Mはソレノイドであるがラヂオ用のトランス(プライマリーが切れて居るものでよし)を利用する。 Kは接触片(ブリキ製)である。 水銀の接触部Kがスパークで汚れるのを防ぐためには色々方法があるがWをシリーズに入れると充分目的が達せられる。 調節法の原理は図で判る如く電源の電圧が高くなるとHを通る電流も従って大となり、K部が接触し、Wが点りKの接触部が離れる。 従って Fを通る電流は抵抗r2を通ることになって落ちるから炉の温度は上らぬ。 r3を二つに分けたのはHに主電流の一部分を通すためとr1を動かして主電流を大体調節すれば主電流を変へる事なく、r3によつて温度を細かく調節し得るためとである。

2)気体の膨脹を利用せるもの

BKGFIG10

これは誰しも最初に考える簡単な方法であるが、大きな場所を取る事と(小さければ感度悪い)気圧の影響を受ける事によって面白くない。 然し気圧の影響を避けるには第10図の如く水銀の一端を閉管にして真空にすればよい。 あるいはまた、この端を真空とせずに気体(空気でよし)を入れて、これを室温あるいは氷の恒温槽に入れてもよい。 リレーは前記の如くネオンランプとトランスの古物を利用するとよい。 炉内の容積を300 ccとしてもなお水銀の毛管現象によつて±1.5 °以上の恒温はなかなか得られない。


3)電熱体の抵抗変化を利用せるもの

加熱用のニクロム線、白金線の温度が変れば抵抗が変るからこの抵抗を一定ならしむれば恒温が得られる。 即ち加熱線をホイートストン橋のアームの一つとして、ガルバーの動きに従ってリレーが働く様にすればよい(永井、原、工化31、754(1928)、White & Adams, Phys. Rev., 14, 44(1919)、Roberts, Rev. Sci. Inst., 11, No. 2(1925))。 この方法は中々精密に行くしまた装置の特殊な部分に針金を巻いて恒温にする事が出来て便利であるが、装置が厄介である。

次に触媒等に用ふる加熱白金線の温度を一定ならしめるには上記の如き自働装置を用ふれば世話はないが、簡単に手働調節が出来る。 それは R = V/I であるからRを一定ならしむるためには V/I を一定ならしむればよい。 之にはボルトメーターの読みを一定の大なる抵抗によってドロップせしめて、実験中常にアムメーターの読みとボルトメーターの読みとが同一になる様に主電流を調節すればよい。

BKGFIG11

なおこの部に入るものに第11図の如き装置がある。 即ち電気炉の温度上れば抵抗が増すから分路の電流が増す。 之を利用したものである(Hibleen, Rev. Sci. inst., 1, No. 5 (1930); 2, No. 2(1932)、Proctor & Douglas, J. Sic. Inst., 9, 192(1932))。 分路A及びBは閉管中に封入されているから両者の加熱状態の差によってリレーが働くわけである。 r2は速やかに熱が奪われるから、この装置は電圧の変化に対しても動作することは図によって明らかである。


4)温度測定器又は指示針を利用せるもの

此式のものはすべて温度計自身を利用するのであるから、他に温度計を必要とせず、かつ任意の温度に持来すことができる利点を有する。

a)光電管を利用せるもの

之は熱電対使用の場合または抵抗寒暖計使用の場合、ガルバーあるいは検電器に対して光を反射または照射し、光電管によってリレーを働かすものであるが、 スケールアウトするおそれがあるし、構造上取扱いが難しいと思われるので詳細は略する。

b)指針の接触によるもの

これはミリボルトメーターの指針の両側に接触片を置き、之に自然接触することによってリレーが働くようにしたものである。 装置が簡単なので市販品が色々出来ているが、構造上温度のコンスタンシイが悪くなるのは止むを得ない。

c)チョッパーバー型のもの

BKGFIG12 BKGFIG13 BKGFIG14

これはミリボルトメーターの指針の下に接触板を置き、バーを以て周期的に指針を押へて指針の位置がずれるとリレーが働くようにしてある。 第12図はその一例であって、Mは電気炉の電流を切る水銀スイッチ、K はシンクロナスモーターによって動くカムであってバーBによって指針Nを周期的に押へ、接触板Tに接触せしめる。 C1、C2、C3、は鉄心に巻いたコイルであってC1とC3とは反対向きに巻いてあるから C1とC3として同時に電流が流れた時はスイッチを引かない。 指針の所でスパークが飛ばぬ様にするためカムが回ると指針を抑へてからPの処で電流が通り、次にPで電流が切れて後バーと指針とが離れる如き構造になっている。 此の時NとTとが接触すれば電流はC2及びC3にも通るから結局C2のみが働いてスイツチを切るわけである。 Bで押さえてもNとTとが接触していない時にはC1のみ通るからスイツチを元に戻して炉に電流が通る。 Kの回転は30 秒に1 回位がよい。 この方法では接触板Tの構造如何によって感度が左右されるわけであるが、これには色々の型がある。 森口氏(日化、54、862(1933))は第13図の如き接触板を工夫した。 即ち板の半分が絶縁体となって居り、この境界を所要温度のスケールの処に置けばよい。 これにより±1/30 °の恒温が得られたという。 しかしこの方法では指針に電流が通るから往々針が接触板に引付くことがある。 そこで筆者は第14図の如く改良した。 即ち指針には薄く絶縁塗料を塗って不導体とし、T の右に付いた白金板とBとが接触する如くした。 Nが白金板の右肩より右に行けば接触し、その他の場合は絶縁されているわけであるから、Tの右端を所要温度のスケールの処に置けばよい。 我々は此方法で100 °~600 °において0.5 °C 以内の恒温を得た。

5)放射光を利用せるもの

加熱体より発する放射エネルギーは絶対温度の 4 乗に比例するし、1500 °においては可視光線についていえぼ、 温度の15乗にも比例するから熱源から放射される光によってリレーを働かす方法はなかなか鋭敏な方法といえる。 光電管を使用すること勿論である。Koller, Ind. Eng. Chem., 23, 1379。 なおその他については R. Griffiths, Thermostats, London C. Griffin & Co. (1934)を参照されたし。


「§25 恒温槽」の目次に返る

「物理化学研究室小案内」のページに返る